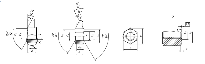
ISO 4033 Standard specifies the characteristics of hexagon high nuts (style 2), in steel and stainless steel, with metric coarse pitch thread M5 to M39, and with product grades A and B. If in certain cases other specifications
| Nominal Size | c | da | e | s | m | Weight Per Pc (H=D) | ||||
|---|---|---|---|---|---|---|---|---|---|---|
| Max | Min | Max | Min | Min | Max | Min | Max | Min | ||
| M1.6 | 0.2 | 0.1 | 2.42 | 2 | 3.41 | 3.2 | 3.02 | - | - | - |
| M2 | 0.2 | 0.1 | 3.07 | 2.5 | 4.32 | 4 | 3.82 | - | - | - |
| M2.5 | 0.3 | 0.1 | 4.07 | 3.5 | 5.45 | 5 | 4.82 | - | - | - |
| M3 | 0.4 | 0.15 | 4.57 | 4 | 6.01 | 5.5 | 5.32 | - | - | - |
| M4 | 0.4 | 0.15 | 5.88 | 5 | 7.66 | 7 | 6.78 | - | - | - |
| M5 | 0.5 | 0.15 | 6.88 | 6 | 8.79 | 8 | 7.78 | 5.10 | 4.80 | - |
| M6 | 0.50 | 0.15 | 6.75 | 6.00 | 11.05 | 10.00 | 9.78 | 5.70 | 5.40 | 0.0028 |
| M8 | 0.60 | 0.15 | 8.75 | 8.00 | 14.38 | 13.00 | 12.73 | 7.50 | 7.14 | 0.0057 |
| M10 | 0.60 | 0.15 | 10.80 | 10.00 | 17.77 | 16.00 | 15.73 | 9.30 | 8.94 | 0.0126 |
| M12 | 0.60 | 0.15 | 13.00 | 12.00 | 20.03 | 18.00 | 17.73 | 12.00 | 11.57 | 0.0181 |
| M14 | 0.60 | 0.15 | 15.10 | 14.00 | 23.36 | 21.00 | 20.67 | 14.10 | 13.40 | 0.0300 |
| M16 | 0.80 | 0.20 | 17.30 | 16.00 | 26.75 | 24.00 | 23.67 | 16.40 | 15.70 | 0.0374 |
| M18 | 0.80 | 0.20 | 19.50 | 18.00 | 29.56 | 27.00 | 26.16 | 17.60 | 16.90 | 0.0522 |
| M20 | 0.80 | 0.20 | 21.60 | 20.00 | 32.95 | 30.00 | 29.16 | 20.30 | 19.00 | 0.0734 |
| M22 | 0.80 | 0.20 | 23.70 | 22.00 | 37.29 | 34.00 | 33.00 | 21.80 | 20.50 | 0.0880 |
| M24 | 0.80 | 0.20 | 25.90 | 24.00 | 39.55 | 36.00 | 35.00 | 23.90 | 22.60 | 0.1242 |
| M27 | 0.80 | 0.20 | 29.10 | 27.00 | 45.20 | 41.00 | 40.00 | 26.70 | 25.40 | 0.1770 |
| M30 | 0.80 | 0.20 | 32.40 | 30.00 | 50.85 | 46.00 | 45.00 | 28.60 | 27.30 | 0.2528 |
| M33 | 0.80 | 0.20 | 35.60 | 33.00 | 55.37 | 50.00 | 49.00 | 32.50 | 30.90 | 0.3280 |
| M36 | 0.80 | 0.20 | 38.90 | 36.00 | 60.79 | 55.00 | 53.80 | 34.70 | 33.10 | 0.4452 |
| M39 | 1.00 | 0.30 | 42.10 | 39.00 | 66.44 | 60.00 | 58.80 | 37.50 | 35.90 | 0.5885 |
| M42 | 1.00 | 0.30 | 45.40 | 42.00 | 71.30 | 65.00 | 63.10 | - | - | 0.7298 |
| M45 | 1.00 | 0.30 | 48.60 | 45.00 | 76.95 | 70.00 | 68.10 | - | - | 0.9410 |
| M48 | 1.00 | 0.30 | 51.80 | 48.00 | 82.60 | 75.00 | 73.10 | - | - | 1.1354 |
| M52 | 1.00 | 0.30 | 56.20 | 52.00 | 88.25 | 80.00 | 78.10 | - | - | 1.3930 |
| M56 | 1.00 | 0.30 | 60.50 | 56.00 | 93.56 | 85.00 | 82.80 | - | - | 1.6460 |
| M60 | 1.00 | 0.30 | 64.80 | 60.00 | 99.21 | 90.00 | 87.80 | - | - | 1.9688 |
| M64 | 1.00 | 0.30 | 69.10 | 64.00 | 104.86 | 95.00 | 92.80 | - | - | 2.2827 |
ASTM A194/ASTM A194M Nuts
ASTM
A1014/A1014M UNS N07718 Bolting, Stud Bolts, Screws, Nuts
ASTM
A1082/A1082M Bolting, Stud Bolts, Screws, Nuts
ASTM
A453/A453M Bolting, Stud Bolts, Screws, Nuts
ASTM F467/F467M Nuts
ISO 898-2 Nuts
ISO 965-1 Metric
MJ Threads
ISO 3506-2 Corrosion-resistant
stainless steel fasteners Specifications.
ISO
3506-5 Bolting Fasteners, Bolting, Stud Bolts, Screws, Nuts, Washers
EN 10269 Bolting Fasteners, Bolting, Stud Bolts, Screws, Nuts, Washers