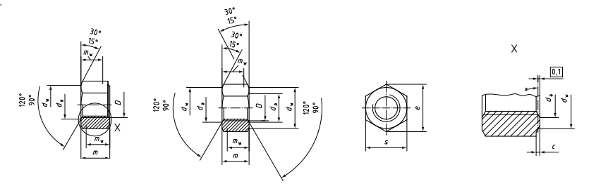
ISO 4032 Hexagon Nuts Standard gives specifications for hexagon nuts, style 1, with thread diameters from M1.6 to M64 inclusive, with product grade A for sizes d < M16 and product grade B for sizes d> M16. If, in special cases. specifications other than those listed in this International Standard are required, they should be seiected from existing International Standards, e.g. 'ISO 261 , ISO 898/2 ISO 965, ISO 4759/1.
| Nominal Size | c | da | e | m | s | Weight Per Pc | ||||
|---|---|---|---|---|---|---|---|---|---|---|
| Max | Min | Max | Min | Min | Max | Min | Max | Min | ||
| M1.6 | 0.2 | 0.1 | 2.42 | 2 | 3.41 | 1.3 | 1.05 | 3.2 | 3.02 | - |
| M2 | 0.2 | 0.1 | 3.07 | 2.5 | 4.32 | 1.6 | 1.35 | 4 | 3.82 | - |
| M2.5 | 0.3 | 0.1 | 4.07 | 3.5 | 5.45 | 2 | 1.75 | 5 | 4.82 | - |
| M3 | 0.4 | 0.15 | 4.57 | 4 | 6.01 | 2.4 | 2.15 | 5.5 | 5.32 | - |
| M4 | 0.4 | 0.15 | 5.88 | 5 | 7.66 | 3.2 | 2.9 | 7 | 6.78 | - |
| M5 | 0.5 | 0.15 | 6.88 | 6 | 8.79 | 4.7 | 4.5 | 8 | 7.78 | - |
| M6 | 0.50 | 0.15 | 6.75 | 6.00 | 11.05 | 5.20 | 4.90 | 10.00 | 9.78 | - |
| M8 | 0.60 | 0.15 | 8.75 | 8.00 | 14.38 | 6.80 | 6.44 | 13.00 | 12.73 | 0.0046 |
| M10 | 0.60 | 0.15 | 10.80 | 10.00 | 17.77 | 8.40 | 8.04 | 16.00 | 15.73 | 0.0100 |
| M12 | 0.60 | 0.15 | 13.00 | 12.00 | 20.03 | 10.80 | 10.37 | 18.00 | 17.73 | 0.0151 |
| M14 | 0.60 | 0.15 | 15.10 | 14.00 | 23.36 | 12.80 | 12.10 | 21.00 | 20.67 | 0.0235 |
| M16 | 0.80 | 0.20 | 17.30 | 16.00 | 26.75 | 14.80 | 14.10 | 24.00 | 23.67 | 0.0304 |
| M18 | 0.80 | 0.20 | 19.50 | 18.00 | 29.56 | 15.80 | 15.10 | 27.00 | 26.16 | 0.0435 |
| M20 | 0.80 | 0.20 | 21.60 | 20.00 | 32.95 | 18.00 | 16.90 | 30.00 | 29.16 | 0.0587 |
| M22 | 0.80 | 0.20 | 23.70 | 22.00 | 37.29 | 19.40 | 18.10 | 34.00 | 33.00 | 0.0720 |
| M24 | 0.80 | 0.20 | 25.90 | 24.00 | 39.55 | 21.50 | 20.20 | 36.00 | 35.00 | 0.0983 |
| M27 | 0.80 | 0.20 | 29.10 | 27.00 | 45.20 | 23.80 | 22.50 | 41.00 | 40.00 | 0.1442 |
| M30 | 0.80 | 0.20 | 32.40 | 30.00 | 50.85 | 25.60 | 24.30 | 46.00 | 45.00 | 0.2022 |
| M33 | 0.80 | 0.20 | 35.60 | 33.00 | 55.37 | 28.70 | 27.40 | 50.00 | 49.00 | 0.2584 |
| M36 | 0.80 | 0.20 | 38.90 | 36.00 | 60.79 | 31.00 | 29.40 | 55.00 | 53.80 | 0.3586 |
| M39 | 1.00 | 0.30 | 42.10 | 39.00 | 66.44 | 33.40 | 31.80 | 60.00 | 58.80 | 0.4678 |
| M42 | 1.00 | 0.30 | 45.40 | 42.00 | 71.30 | 34.00 | 32.40 | 65.00 | 63.10 | 0.5908 |
| M45 | 1.00 | 0.30 | 48.60 | 45.00 | 76.95 | 36.00 | 34.40 | 70.00 | 68.10 | 0.7528 |
| M48 | 1.00 | 0.30 | 51.80 | 48.00 | 82.60 | 38.00 | 36.40 | 75.00 | 73.10 | 0.8989 |
| M52 | 1.00 | 0.30 | 56.20 | 52.00 | 88.25 | 42.00 | 40.40 | 80.00 | 78.10 | 1.1251 |
| M56 | 1.00 | 0.30 | 60.50 | 56.00 | 93.56 | 45.00 | 43.40 | 85.00 | 82.80 | 1.3227 |
| M60 | 1.00 | 0.30 | 64.80 | 60.00 | 99.21 | 48.00 | 46.40 | 90.00 | 87.80 | 1.5750 |
| M64 | 1.00 | 0.30 | 69.10 | 64.00 | 104.86 | 51.00 | 49.10 | 95.00 | 92.80 | 1.8190 |
ASTM A194/ASTM A194M Nuts
ASTM
A1014/A1014M UNS N07718 Bolting, Stud Bolts, Screws, Nuts
ASTM
A1082/A1082M Bolting, Stud Bolts, Screws, Nuts
ASTM
A453/A453M Bolting, Stud Bolts, Screws, Nuts
ASTM F467/F467M Nuts
ISO 898-2 Nuts
ISO 965-1 Metric
MJ Threads
ISO 3506-2 Corrosion-resistant
stainless steel fasteners Specifications.
ISO
3506-5 Bolting Fasteners, Bolting, Stud Bolts, Screws, Nuts, Washers
EN 10269 Bolting Fasteners, Bolting, Stud Bolts, Screws, Nuts, Washers