ASME B18.2.2 Heavy Hex Flat Nuts Standard covers the dimensional requirements for nine
product types of inch series bolts and screws recognized as American National Standard. Also included are
appendices covering gaging procedures, grade markings for bolts and screws, formulas on which dimensional
data are based, and a specification to assist in identifying a product as being a screw or a bolt. Where
questions arise concerning acceptance of product, the dimensions in the tables shall govern over
recalculation by formula. Heavy hex structural bolts, formerly covered in ASME B18.2.1, are now covered
in ASME B18.2.6.
The inclusion of dimensional data in this Standard is not intended to imply that all of the products
described herein are stock production sizes. Consumers should consult with suppliers concerning lists of
stock production sizes.
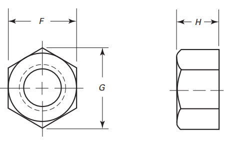
| Nominal Size | Basic Major Diameter of Thread | Width Across Flats, F | Width Across Corners, G | Thickness, H | Bearing Surface Runout to Thread Axis, FIM | |||||
|---|---|---|---|---|---|---|---|---|---|---|
| Basic | Min. | Max. | Min. | Max. | Basic | Min. | Max. | |||
| 1 1/8 | 28.575 | 46.038 | 44.602 | 46.025 | 50.851 | 53.162 | 28.575 | 27.407 | 29.337 | 0.813 |
| 1 1/4 | 31.750 | 50.800 | 49.225 | 50.800 | 56.109 | 58.649 | 31.750 | 30.150 | 32.563 | 0.864 |
| 1 3/8 | 34.925 | 55.563 | 53.823 | 55.575 | 61.366 | 64.160 | 34.925 | 33.274 | 35.789 | 0.965 |
| 1 1/2 | 38.100 | 60.325 | 58.420 | 60.325 | 66.599 | 69.647 | 38.100 | 36.398 | 39.014 | 1.041 |
| 1 3/4 | 44.450 | 69.850 | 67.615 | 69.850 | 77.089 | 80.645 | 44.450 | 42.647 | 45.466 | 1.219 |
| 2 | 50.800 | 79.375 | 76.835 | 79.375 | 87.605 | 91.643 | 50.800 | 48.895 | 51.918 | 1.372 |
| 2 1/4 | 57.150 | 88.900 | 86.055 | 88.900 | 98.095 | 102.641 | 57.150 | 54.737 | 58.369 | 1.549 |
| 2 1/2 | 63.500 | 98.425 | 95.250 | 98.425 | 108.585 | 113.640 | 63.500 | 60.985 | 64.821 | 1.702 |
| 2 3/4 | 69.850 | 107.950 | 104.445 | 107.950 | 119.075 | 124.638 | 69.850 | 67.234 | 71.272 | 1.880 |
| 3 | 76.200 | 117.475 | 113.665 | 117.475 | 129.591 | 135.636 | 76.200 | 73.482 | 77.724 | 2.032 |
| 3 1/4 | 82.550 | 127.000 | 122.885 | 127.000 | 140.081 | 146.660 | 82.550 | 79.350 | 84.176 | 2.210 |
| 3 1/2 | 88.900 | 136.525 | 132.080 | 136.525 | 150.571 | 157.658 | 88.900 | 85.598 | 90.627 | 2.362 |
| 3 3/4 | 95.250 | 146.050 | 141.275 | 146.050 | 161.061 | 168.656 | 95.250 | 91.846 | 97.079 | 2.540 |
| 4 | 101.600 | 155.575 | 150.495 | 155.575 | 171.577 | 179.654 | 101.600 | 98.095 | 103.530 | 26.924 |
|
||||||||||
| Nominal Size | Basic Major Diameter of Thread | Width Across Flats, F | Width Across Corners, G | Thickness, H | Bearing Surface Runout to Thread Axis, FIM | |||||
|---|---|---|---|---|---|---|---|---|---|---|
| Basic | Min. | Max. | Min. | Max. | Basic | Min. | Max. | |||
| 1 1/8 | 1.1250 | 1 13/16 | 1.756 | 1.812 | 2.002 | 2.093 | 1 1/8 | 1.079 | 1.155 | 0.032 |
| 1 1/4 | 1.2500 | 2 | 1.938 | 2.000 | 2.209 | 2.309 | 1 1/4 | 1.187 | 1.282 | 0.034 |
| 1 3/8 | 1.3750 | 2 3/16 | 2.119 | 2.188 | 2.416 | 2.526 | 1 3/8 | 1.310 | 1.409 | 0.038 |
| 1 1/2 | 1.5000 | 2 3/8 | 2.300 | 2.375 | 2.622 | 2.742 | 1 1/2 | 1.433 | 1.536 | 0.041 |
| 1 3/4 | 1.7500 | 2 3/4 | 2.662 | 2.750 | 3.035 | 3.175 | 1 3/4 | 1.679 | 1.790 | 0.048 |
| 2 | 2.0000 | 3 1/8 | 3.025 | 3.125 | 3.449 | 3.608 | 2 | 1.925 | 2.044 | 0.054 |
| 2 1/4 | 2.2500 | 3 1/2 | 3.388 | 3.500 | 3.862 | 4.041 | 2 1/4 | 2.155 | 2.298 | 0.061 |
| 2 1/2 | 2.5000 | 3 7/8 | 3.750 | 3.875 | 4.275 | 4.474 | 2 1/2 | 2.401 | 2.552 | 0.067 |
| 2 3/4 | 2.7500 | 4 1/4 | 4.112 | 4.250 | 4.688 | 4.907 | 2 3/4 | 2.647 | 2.806 | 0.074 |
| 3 | 3.0000 | 4 5/8 | 4.475 | 4.625 | 5.102 | 5.340 | 3 | 2.893 | 3.060 | 0.080 |
| 3 1/4 | 3.2500 | 5 | 4.838 | 5.000 | 5.515 | 5.774 | 3 1/4 | 3.124 | 3.314 | 0.087 |
| 3 1/2 | 3.5000 | 5 3/8 | 5.200 | 5.375 | 5.928 | 6.207 | 3 1/2 | 3.370 | 3.568 | 0.093 |
| 3 3/4 | 3.7500 | 5 3/4 | 5.562 | 5.750 | 6.341 | 6.640 | 3 3/4 | 3.616 | 3.822 | 0.100 |
| 4 | 4.0000 | 6 1/8 | 5.925 | 6.125 | 6.755 | 7.073 | 4 | 3.862 | 4.076 | 1.06 |
|
||||||||||
ASTM A194/ASTM A194M Nuts
ASTM
A1014/A1014M UNS N07718 Bolting, Stud Bolts, Screws, Nuts
ASTM
A1082/A1082M Bolting, Stud Bolts, Screws, Nuts
ASTM
A453/A453M Bolting, Stud Bolts, Screws, Nuts
ASTM
F1554 Anchor Bolts, Anchor Rods
ASTM
F3111 Heavy Hex Bolts, Nuts, Washers
ASTM
F432 Roof Rock Bolts, Screws, Threaded
ASTM
F901 Aluminium Transmission Tower Bolts
ASTM A563 Standard
Specification for Carbon and
Alloy Steel Nuts
ASTM F467/ASTM F467M
Standard Specification for Nonferrous
Nuts for General Use
ASTM F594 Standard
Specification for Stainless Steel Nuts
ISO 898-2 Nuts
ISO 3506-2 Nuts
EN 10269 Bolting Fasteners, Bolting, Stud Bolts, Screws, Nuts, Washers